PSSR 2.0 w PS5 Pro "bez spadków FPS-ów i cięć rozdzielczości". Sony publikuje swój plan

Gry
1299V
PS6 / Koncept
Mateusz Wróbel | Dzisiaj, 09:22
PS5 PS6

Sony nie spoczywa na laurach po premierze PS5 Pro i już pracuje nad znaczącą ewolucją swojej technologii skalowania obrazu.

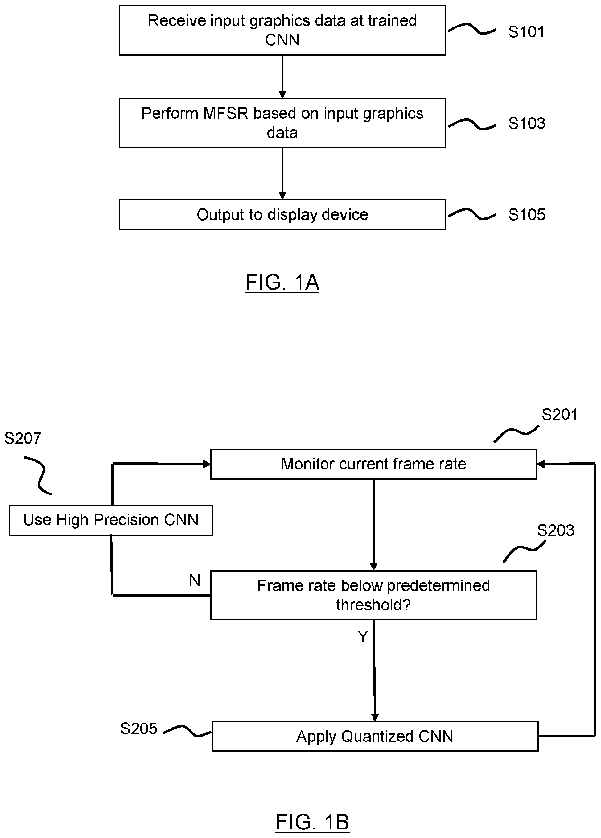
Według najnowszego patentu odnalezionego w bazie WIPO, nadchodzi PSSR 2.0, które ma wyeliminować największe bolączki obecnej wersji, takie jak okazjonalne błędy graficzne czy konieczność drastycznego obniżania rozdzielczości bazowej przez twórców gier. Mark Cerny wraz z inżynierami AMD planuje zintegrować kluczowe elementy nadchodzącego FSR4 bezpośrednio z systemem PlayStation, co ma przynieść niespotykaną dotąd stabilność obrazu i płynność animacji.

Dalsza część tekstu pod wideo

Kluczem do sukcesu nowej wersji ma być technologia nazwana kwantyzacją w czasie rzeczywistym. Obecnie, gdy konsola napotyka bardzo wymagającą scenę, twórcy często muszą ratować płynność (FPS), dynamicznie obniżając rozdzielczość natywną. PSSR 2.0 zmieni te zasady gry - zamiast pogarszać jakość wejściowego obrazu, system będzie inteligentnie ograniczał zasoby przydzielane dla sieci neuronowych (CNN) odpowiedzialnych za rekonstrukcję detali. Gdy obciążenie GPU stanie się zbyt duże, algorytm na ułamek sekundy „uprości” swoje obliczenia, by utrzymać stabilny klatkaż bez widocznego gołym okiem rozmycia obrazu.

Dla graczy oznacza to przede wszystkim koniec irytujących szarpnięć animacji w najbardziej widowiskowych momentach. PSSR 2.0 pozwoli deweloperom na utrzymanie wyższej rozdzielczości bazowej, co przełoży się na ostrzejsze tekstury i mniej artefaktów graficznych, na które skarżyli się użytkownicy niektórych tytułów po debiucie PS5 Pro.

Nowa wersja technologii ma trafić do zestawów deweloperskich w najbliższych miesiącach, co sugeruje, że pierwsze gry wykorzystujące ten standard zobaczymy jeszcze w tym roku.

PSSR 2.0 w PS5 Pro "bez spadków FPS-ów i cięć rozdzielczości". Sony publikuje swój plan
resize icon

Warto zauważyć, że Sony stawia na optymalizację programową jako główny sposób na zwiększenie atrakcyjności swojej najmocniejszej konsoli. W obliczu rosnących cen podzespołów, takich jak pamięci RAM, japoński gigant planuje uniknąć podwyżek cen samego sprzętu, oferując zamiast tego coraz lepszą jakość obrazu dzięki darmowym aktualizacjom systemowym.

Źródło: MP1st

Komentarze (41)

SORTUJ OD: Najnowszych / Najstarszych / Popularnych

cropper